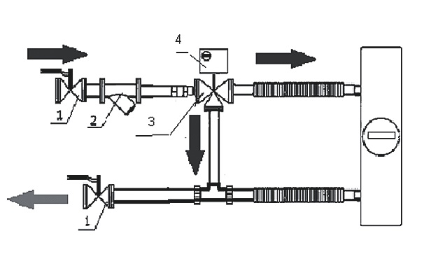
Узел терморегулирования воздухоохладителей должен обеспечивать переменный расход холодоносителя на воздухоохладителе, в то же время количество холодоносителя, протекающего через узел, должно оставаться неизменным, т.к. холодильные машины (чиллеры), подающие к ним охлажденную жидкость, критичны к постоянству протекающей через них жидкости. Шаровые краны служат для отключения узла регулирования. Сетчатый фильтр защищает регулирующий клапан и воздухоохладитель от попадания в них твердых частиц, способных повлиять на работоспособность. Когда клапан полностью открыт, жидкость движется через воздухоохладитель. Холодильная мощность узла при этом максимальна. В полностью закрытом состоянии жидкость движется по малому кругу, минуя теплообменник, и в этом случае весь холодоноситель перепускается обратно в сеть. Холодильная мощность узла терморегулирования при этом минимальна. Во всех промежуточных положениях часть теплоносителя подается на теплообменник, а часть перепускается в сеть. Расход теплоносителя через узел во всех положениях регулирующего клапана одинаков. Рабочее давление: 0–10 бар. Теплоноситель: вода, антифриз.

Cхема узла терморегулирования SUS прямой конфигурации
1. Шаровой кран
2. Фильтр косой сетчатый
3. Трехходовой клапан
4. Электропривод трехходового
клапана

| Модель | Присоед. Размер | Макс. расход теплоносителя, м3/ч | Регулирующий клапан | Кvs клапана | Привод регулирующего клапана | ||
|---|---|---|---|---|---|---|---|
| Привод | Управление | Усилие | |||||
| SUS-VO-25-4,0 | G 1″ | 1,6 | BV-3-20-4,0 | 4 | DA 04N24PI | 0-10 В | 4Нм |
| SUS-VO-25-6,3 | G 1″ | 2,5 | BV-3-20-6,3 | 6,3 | DA 04N24PI | 0-10 В | 4Нм |
| SUS-VO-25-10 | G 1″ | 5,7 | BV-3-25-10,0 | 10 | DA 04N24PI | 0-10 В | 4Нм |
| SUS-VO-32-16 | G 1 1/4″ | 9,5 | BV-3-25-16,0 | 16 | DA 04N24PI | 0-10 В | 4Нм |
| SUS-VO-40-25 | G 1 1/2″ | 12 | BV-3-40-25,0 | 25 | DA 08N24PI | 0-10 В | 8Нм |
| SUS-VO-50-40 | G 2″ | 20 | BV-3-40-40,0 | 40 | DA 08N24PI | 0-10 В | 8Нм |
| SUS-VO-65-60 | F 2 1/2″ | 28 | BV-3-50-63,0 | 63 | DA 08N24PI | 0-10 В | 8Нм |
| SUS-VO-80-90 | F 3″ | 40 | 3F65 | 90 | ESBE 92 P | 0-10 В | 15 Нм |
| SUS-VO-100-150 | F 4″ | 60 | 3F80 | 150 | ESBE 92 P | 0-10 В | 15 Нм |
| SUS-VO-125-225 | F 5″ | 90 | 3F100 | 225 | ESBE 92 P | 0-10 В | 15 Нм |